当前位置:首页 > 政务公开 > 基本信息公开 > 政策法规 > 法律法规
困难残疾人生活补贴
发布时间:2020-12-02 选择阅读字号:[ 大 中 小 ] 阅读次数: 0
●责任股室:社会事务和养老服务股
●法律(文件)依据:《四川省民政厅 四川省财政厅 四川省残疾人联合会关于建立困难残疾人生活补贴和重度残疾人护理补贴的通知》(川民发〔2015〕195号)
●补贴对象:持有第二代残疾人证的仁和区户籍低保户
●办理业务需提交资料:
1.本人身份证复印件。
2.本人户口簿复印件。
3.本人《攀枝花市困难残疾人生活补贴申请审批表》。
4.本人申请困难残疾人生活补贴的《申请书》。
5.本人有效期内《第二代残疾人证》复印件。
6.本人有效期内《低保证》复印件。
7. 本人社保卡复印件。
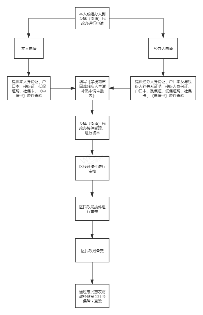
●补贴程序:
本人申请—乡镇(街道)民政办受理、初审—区残联审核、审批—区民政局复核、审定—区民政局备案,通过惠民惠农财政补贴资金社会保障卡直发。
●补贴标准:每人每月100元
●办结时限:10个工作日




